一、油液在線監測裝置原理有哪些
油液在線監測裝置是一種用于監測和分析機械設備中的油液性能和狀態的裝置。它能夠實時監測油液的物理和化學指標,提供關鍵的信息以評估設備的健康狀況和執行維護決策。下面是一些常見的油液在線監測裝置的原理:
1. 溫度傳感器:溫度傳感器測量油液的溫度變化。溫度是判斷設備工作狀態和冷卻系統性能的重要指標之一。
2. 壓力傳感器:壓力傳感器用于測量油液中的壓力變化。它可以提供設備運行負荷和潤滑系統性能的信息。
3. 流量傳感器:流量傳感器測量油液在系統中的流動速度和流量。它可以幫助評估潤滑系統的正常運行以及是否存在堵塞或泄漏等問題。
4. 污染度傳感器:污染度傳感器用于檢測油液中的固體顆?;螂s質的含量。它可以提供油液的清潔程度和設備磨損情況的指示。
5. 酸值傳感器:酸值傳感器用于測量油液中的酸性物質含量。它可以幫助檢測油液的酸化程度,預測設備的腐蝕和氧化狀況。
6. 水分傳感器:水分傳感器用于檢測油液中的水分含量。它可以幫助評估設備的密封性能和防水措施的有效性。
這些傳感器通過收集數據,并將其傳輸給監測系統進行分析和處理。監測系統會根據預設的標準和算法,評估油液的健康狀況,并生成警報或建議進行相應的維護和保養。這樣的實時監測和分析可以幫助提前發現設備故障、延長設備壽命,并提高設備的可靠性和性能。

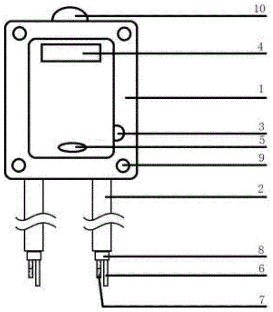
圖1 油中有水傳感器原理圖

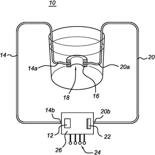
圖2 油液在線監測裝置原理

圖3 一種風力發電機齒輪箱油液在線監測系統
二、油液在線監測裝置是什么
油液在線監測裝置是一種用于實時監測和分析機械設備中油液性能和狀態的裝置。它通過安裝在設備或油路中的傳感器,收集油液的各種物理和化學指標,例如溫度、壓力、流量、污染度、酸值和水分含量等。
這些傳感器會將采集到的數據傳輸給監測系統,該系統會對數據進行分析和處理。監測系統使用預設的標準和算法,評估油液的健康狀況,并生成報告、警報或建議,以幫助操作人員進行相應的維護和保養決策。
油液在線監測裝置的主要目的是實現設備的遠程監測和故障預警。它可以幫助監測設備的潤滑系統性能、油液的清潔度、設備磨損情況、水分和雜質的含量以及酸值等。通過實時監測油液的狀態,操作人員可以及時發現異常情況并采取相應的維護措施,以減少設備故障、延長設備壽命,并提高設備的可靠性和效率。
油液在線監測裝置在工業生產和設備維護領域具有廣泛的應用,特別是在重要的機械設備和關鍵設施的運行過程中。它為用戶提供了一種實時監控和管理油液性能的手段,有助于提高設備的安 全性、可靠性和經濟性。
如果您需要:油液在線監測裝置,請聯系我們。智火柴,國內知名油液監測系統提供商!
咨詢電話:0755-8999 8086 / 138 2521 4309(微信同號)
Copyright ? 2015-2024 智火柴科技(深圳)有限公司 版權所有
備案號:粵ICP備18096323號